Introduction
UAE is one of the pioneers in improving economies in the Middle East, and the centre for its improvement relies on the real estate business as a vital segment. It is thought of one of the biggest areas in the UAE economy; the legislature is using billions of dollars each year in major ventures.
The purpose of this thesis is to understand the reasons of delays in the construction ventures (with more concern about the UAE projects) due to the design process. It is true that the design process plays an important role in the success and timely completion of any project. But we should not undermine the fact that there are various other reasons as well that contribute towards the delays. It is advisable to first understand the prevailing construction scenario in the Middle East.
One of the most important aspects of the slow progress and unfortunate venture exhibition in the current construction industry is the absence of incorporation between diverse restrains of design and construction. It has been recognized that absence of reconciliation and coordination brings about issues of activity postpones and futile task communications in the present-day construction industry. Different research studies have endeavoured to address the issue, for example delay analysis methods, patrons to venture delays particularly in the fast-developing construction industry universe of Dubai and Saudi Arabia.
On the other hand, no studies were discovered that broke down the explanation for postponements because of absence of design and coordination. This study especially keeps tabs on the explanations for construction venture postpones in the Middle East with its effect on incorporation issues.
In view of the learning from the literary works, a careful investigation methodology was embraced to explore the reasons for three ventures of a multi disciplinary organisation in the Middle East. The study included up close and personal question with two people who were completely included in all the ventures. This was accompanied by information accumulation from the customer, planner (advisor) and primary builder from their own particular focus view to distinguish the causation of the specific activity delay. The study brought about shifted measure of information which was investigated from the three research endeavours. A concise exchange on a theory recognized that reflected from the information dissection was summarised and clarified. At last, suggestions for the exploration were examined at the end.
Main reasons for delays in construction projects in the UAE
Dubai presents a unique set of circumstances where the construction business works. Variables, for example quick construction in construction, tight construction plan, special building characteristics, the contribution of worldwide foremen and advisors, multinational work strengths, interesting society and religion, promptly accessible venture, and blended contracts and conditions create specific effects on construction venture advance.
With the effects of these variables, postponement is a normal issue for construction ventures in Dubai. This exploration plans to distinguish the most significant explanations for postponements in Dubai construction ventures. A serial of survey overview and meetings were led to investigate every undertaking member’s commitment to the explanations for postponements. The outcomes show that the major explanations for postponements differ from the improbable undertaking term, assigned sub-foremen, and the society sways.
Presentation
Throughout the most recent two decades, Dubai has seen a striking construction in its investment furthermore social improvement. Major social improvement ventures are secured by both open and private areas, which incorporate lodging tasks, doctor’s facilities, schools and instructive establishments and different utilities. Given its social foundation, acquirement framework and operational situations, the blasting assembling and construction industry is confronting numerous remarkable tests which influence venture advance. For instance:
Large scale and fantastic prerequisites: Numerous expansive ventures were launched in the recent years. Such improvements appeal high calibre, not just in the kind of work and construction materials but also in outline for a high standard of living. The outline, construction and administration of these tasks are testing to the neighbourhood construction industry.
International contribution: Since the indigenous associations regularly don’t have the capabilities to plan, construction or administration these undertakings, remote associations are included in all the industry segments. They carry the state of craft construction innovation and administration methods, in any case, a considerable lot of them are included in contractual claims and debates with undertaking postponement and cost overwhelm.
Conventional procurement method: So far, the majority of the construction activities embrace conventional procurement method. FIDIC is substantially utilized as the general states of contact. The advisor, frequently from on board, is answerable for planning the undertaking and arranging the agreement archives.
Abundance of minor contractors: There are countless construction firms that are unable to finalize huge scale or fair estimated tasks. They frequently postpone their work because of the restricted assets. It is astounding that these associations are effortlessly influenced by the variance of the business.
Over duty of construction companies: Due to the high requesting industry, the greater part of the construction companies are excessively burdened by taking a bigger number of activities than what they are capable of. The incalculable number of activities is frequently beyond their ability and the result is delay in projects.
International workforces: The workforces utilized in tasks are of blended nationalities, which carry diverse conventions, standards, propensities, religions. For illustration, the religious occasions incorporate sacred Friday for Muslims, Sunday occasion for Christians, and customary occasions and celebrations for Indians. The expatriate labourers prove to be a substantial brunt to the real estate market.
Scarcity of experienced workers and expertise: There is a requirement for experienced workers and expertise in the local business. Numerous associations endure from the high turnover of skilled technicians, builds and labours. The effect is truly extreme throughout the high season of construction period.
Faulty time/weather evaluation: A majority of the expatriate labourers are from south Asia and as such, they cannot sustain the harsh climate. This regularly decreases the output and delays venture advancement. Hence, the function programmes from the customers or the foremen need to be checked by encounter organizers to incorporate smoking season alteration keeping in mind the end goal to keep away from being over confident in programme.
Language hindrance: In Dubai, the agreement dialect is dependably the local language, Arabic. The majority of the undertaking members like to talk and compose in their own particular dialect without utilizing qualified translators. This influences the communication, advancement and nature of function. Utilizing the Arabic dialect in the agreement archives is an essential issue and a large portion of the construction associations have not determined this issue.
Communication with the customer: Unlike different nations, the customers in Dubai have supreme control in the undertaking. The point when the customer visits site, he/she might issue change requests which must be complied. Then again, they don’t dependably see the need for brief activity regarding their contractual commitments. A few expressions, for example “Insha’Allah” which, in English, means “If God wills”, are exceptionally commonplace statements and the vast majority of supervisors and site architects utilize it as a guarantee which is a part of Islamic custom society. Remote designers don’t comprehend the profound importance of that expression and might acknowledge it as a part of questionable matter that reasons debates when executing the venture.
Local regulations and traditions: Law of Sharia, systems and conventions for work license and visa provision and other nearby regulations (e.g. provision for construction or enter grants) could create basic effects on undertaking advance. For instance, the construction work in Free Economic Zone (FEZ) needs uncommon licenses which are under the control of the FEZ.
UAE partners: There is a legitimate prerequisite for outside associations to structure “associations” with local associations with a specific end goal to qualify to bid for construction projects, and this applies to sub-contracting divisions as well. As a result, there is regularly a distinction in the working systems and frameworks worked by remote and indigenous associations, and likewise, in partnership firms.
The scenario is exacerbated in construction where there are numerous parties included in an activity. Consistent with the legislature regulations, the UAE national must have no less than 51% portion of the joint step which authorise them to settle on prompt and critical choices, if clashes climb between collaborators. It is not simple to change a neighbourhood friend’s choice in the event that it has been affirmed. This can antagonistically influence the work advancement in construction ventures.
Given such a mind boggling construction scenario, it is not astounding that numerous tasks are postponed. Venture members are included in extended contractual cases and difference of opinions, frequently determined either by intervention, critical bargain or lawful forms. This paper presents the result of an examination activity which expects to distinguish the essential explanations for activity delays in Dubai construction venture and to categorise these aspects with reference to the effects upon the activity finish time as well as the parties involved.
Regular Causes of Project Delays
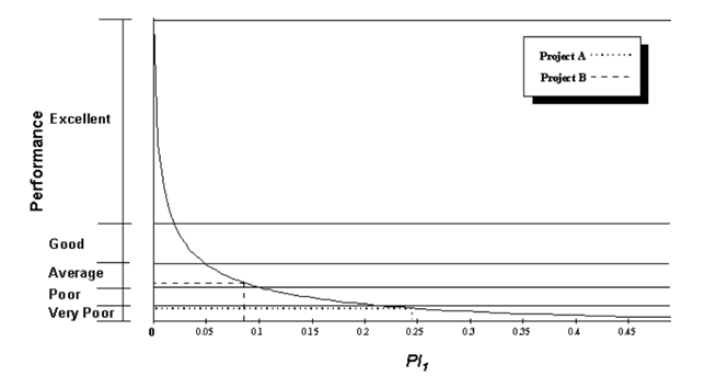
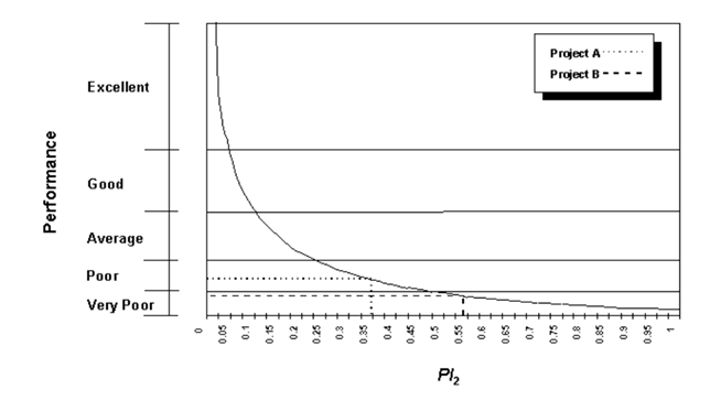
Given the intense effects of activity defers, it has been extensively examined via specialists from diverse nations. Table 1 abstracts the general explanations for undertaking defers recognized in these exploration tasks. 10, 13 and 30 explanations for venture postponements are distinguished as told by the customer, the consultant or the builder individually.
Table 1: General explanations for project postponements.
The study was planned dependent upon the 53 explanations for deferral demonstrated in Table 1, to which members were solicited to demonstrate the level of vitality of every reason. These reasons were arranged into three major categories:
- The Customer: Related elements incorporate money, instalments, customer obstruction, moderate choice and unlikely contract term.
- The Consultant: The concerned variables incorporate contract administration, scheduling and approbation of submittals and materials and taking care of the site..
- The Builders: Related variables incorporate site administration, uncalled for arranging, lacking builder experience, tangles throughout construction and arranging the construction strategy.
Other noteworthy issues to ponder upon, for example venture area, site circumstances, neighbours, and updates, materials incorporating quality and deficiency and the selected sub-contractor were similarly documented in the study review in UAE. Two adjusts of overview were directed. In the first round, poll was circulated to construction associations who were chipping away at imposing and average ventures in Dubai with activity values averaging to US$ 100million.
Poll was sent to the general supervisors, chief of specialized undertakings, venture section chiefs, site venture supervisors, head architects and construction administrators who have particular encounter here that can furnish an understanding into both underlying explanations for postponement and their relative impact. The next set of the poll was dispersed to construction companies to ascertain certain important aspects that were pointed out during the initial one. The participation was cent percent for the two sets.
The outcomes of the review were dissected utilizing an intensity weighting technique. Quality of 5 is acknowledged as 100% intensity, quality of 4 is acknowledged as 85%, quality of 3 is acknowledged as 65% quality of 2 is acknowledged as 45% and quality of 1 is recognized as 25% of intensity. The normal of the intensity reasons by the customer, the specialist and the contractor running from 45% to 85% rate astute.
The outcome of the study shows that:
- The customer’s commitment to explanations for postponement is of 11.76%.
- The consultant’s commitment to explanations for postponement is of 26.47%.
- The contractor’s commitment to explanations for postponement is of 61.76%.
The outcome additionally exhibits a high consistency between the explanations for postponement in Dubai construction venture (Figures 1, 2, 3) and the general reasons recognized by past analysts.



The following paragraphs describe in detail the different aspects responsible for delays in projects.
Delay aspects due to clients
The explanations for postponement unique from the customer could be more paramount than from the advisor and the builder in light of the fact that choices made by the customer fundamentally influence others.
Unrealistic Control Duration
Customers are searching for a quick profit for their speculation. In Dubai and other emirates, it is ordinary for a customer to specify a finished plan date during which expert may not evaluate plans effectively. This comes about that outline has a great deal of progressions throughout construction.
Lots of interim totals and main expenditures
Customers dependably jump at the chance to abandon some irrelevant things in the BOQ. This anticipates the builder from appraising such things at the required instant. As a result, when the portions of this bill are given (at exceptionally later stage), the work programme will be aggravated and the prevailing contractor will find troubles in realizing the focus of the task.
Appointment of Sub-Contractors and Vendors
Generally, customers are inclined towards their own particular sub-foremen and/or vendors for some specific function. They regularly educate the foremen straightforwardly through the expert to enter the subcontract understanding dependent upon constrained conditions that may not suit the primary contractor for example a progressed instalment, term, punishments, submittals and approbations. In the event that the fundamental contractor rejects these terms, clashes will happen, and postponement will advance until a last understanding is marked between those included gatherings.
Client’s eccentric Payment to the Main Contractor
Defer in regularly scheduled instalment from the customer fundamentally bothers the builder’s money stream. This in turn influences the instalments to sub-builders, who are committed to buy material from suppliers. Venture execution will be subsequently influenced monetarily. This probably will have great negative impacts on the venture performance and the venture might become overdue.
Key Causes from the Consultant
The advisor business settings in Dubai are hesitant to decline potential requisition and accompany an approach of “we are dependably primed to plan your activity”. The outline business settings are frequently over-burdened because of quick advancement in construction in the city. The majority of them don’t have sufficient time and absence of adequate administration, which influences the nature of the work and subsequently thought about the foremen’s exhibition.
Incomplete Drawings
Provided that the customer solicitations an impossible due date for design, great edges of lapses will show up in the activity drawings and particulars. Clashes frequently show up between drawings from distinctive teaches. This is acknowledged as a postponement variable from the advisor side.
Delay in Approval of Documents
The consultant finds it very tough to endorse certain documents produced by the contractor (like technique proclamation or details). It is accounted for that the contractor can seldom get the support from the advisor in Dubai.
Unfinished Contract Papers
The Consultant has the complete right to issue updates, rectify the oversights in the drawings and the disparities in the agreement papers in the better interests of the customer. However, the specialist’s site staffs does dependably not have certainty in issuing guidelines until they talk about with their top supervisors. The builder frequently can’t gain directions about those errors in time.
Rectifications in Drawings and Specifications
A few architects, who are on the payroll of the advisor don’t have sufficient encounters in design hones. A few issues in the design can’t be discovered until the contractor asks about them in the construction. It takes a breather for region to sanction new outline results, case in point.
Length of Inspection Process
Specialists assess the activity to verify that the activity meets the required benchmark of excellence. This work is done by qualified designs and powers. However due to absence of the masters, a few activities could be assessed on time.
Key Causes from the Contractor
As shown in Figure 3, the greater part of the activity defers variables in Dubai construction activities are credited by the builder.
Preparing the Method Statements
Venture director may as well make definite strategy proclamations. A large portion of them in Dubai venture don’t have enough time to plan for strategy articulations as they frequently have to assume more than one part (e.g., site chief and amount surveyor).
Financing Project by the builder
The point when builders gain progressed or regularly scheduled instalment from the customer, the greater part of them might utilize the cash to back other critical or more beneficial activities. It frequently advances to the issues, for example lack of material, postponed instalment to sub-foremen, and so on.
Organizational Chart
Venture chief might as well bring about an adequate human asset administration. On the other hand, because of absence of specialized staff and time restrictions, the greater part of job vacancies can’t be sufficed by people having the needed expertise.
Inside and Outside Communication
It is very crucial for builders to be in touch with members of the venture. While in Dubai, construction members could hail from diverse nations, misconstruing around them regularly happens in light of the distinctive social foundations.
Mistakes through the progress of the venture
The local real estate industry is a popular destination for labourers in the UAE – the larger part of the labourers is from South Asia. Such labourers don’t have any proper knowledge and moreover, have very little of experience. This frequently expedites unfortunate workmanship. There are times when specific jobs have to be done again in order to get endorsed from the QC. Further Studies
Postponements are a major issue endured by the majority of the construction undertakings in Dubai whilst the explanations for postponements and the strategies to evade postpones or moderate the effects of postponements are still not completely comprehended by undertaking members. This exploration examined the particular operational environment of Dubai construction ventures and examined the root sources of the postponement donated by the major undertaking members.
Unlike different nations or districts, the construction undertakings in Dubai confront numerous exceptional tests, for example the interesting social, high construction modelling and quality prerequisites, short of workforce, and worldwide construction groups. These imperatives make the explanations for postponements unique in relation to different nations. Case in point, doubtful task length of time, numerous temporary totals and prime take, designation of sub-builders and suppliers, customer’s unpredictable instalment to the essential contractor and varieties are the top five explanations for postponement committed by the customer.
Fragmented drawings, postpone in support of records, inadequate contract reports, updates in drawings and particulars, and term of review system are the major reasons donated by the advisor. Planning the technique proclamations, badly financed task, improper conglomeration administration, unsmooth outside and inward correspondences, and botches in construction are the top reasons committed by the builder.
In light of the conclusion of this examination, further examination will be led on how each gathering may as well control their root sources of venture defers. All the more particularly, this incorporates the control of social effects, the agreement and coordination with assigned sub-builders and suppliers and the accommodation of FIDIC states of contract. The last one has been of concern to a large portion of the venture members and it is essential to further examine at the time when it is utilized within Middle East.
There have been several projects in the past that have been delayed. Some examples of delayed projects in the UAE:
Dubai Pearl
Dubai’s Pearl venture faces a deferral of two years from its unique fruition date of 2013. Construction movement at the site of the US $6billion undertaking has been restricted as of late, and the undertaking’s senior site supervisor conceded that the undertaking is still far from finish.
Tameer Towers
Defers in this disputed US$ 7billion venture has prompted buyers to demand their money back from the promoters. It is noteworthy that the venture has been stopped. According to the promoters, the delay is due to some problems with the builder and problems in getting the required licences.
While questions over deferred undertakings are normal in Dubai, they are a generally new sensation in Abu Dhabi, where a majority of the projects began between 2006 and 2008, when there was a construction boom.
Cleveland Clinic
The clinic was scheduled to be completed in March 2013 but there is still some time for the hand over. The clinic had a construction budget of US$ 1.4billion.
Many more projects in the UAE are heading towards delays or cancellation. The quantum of construction undertakings wiped out and/or delayed in the United Arab Emirates rose to $170 billion in August demonstrating that the battered land division in the Gulf state is still far from recuperation.
The expansion of 13%, contrasted with the past month, is uncovered in the Mena Construction Projects. It additionally demonstrates that the UAE explained 56% of the sum scratched off or deferred activities for the principle local markets. It is not peculiar that retractions in the UAE identify overwhelmingly with real estate. The UAE’s property blast came to an end in 2008. The house costs in Dubai plunging by up to 60% compelled numerous promoters to relinquish ventures.
Nakheel, the Dubai visionary of the Palm islands, was constrained to dispose of up to AED 78.6 billion (US $21.4 billion) of its land possessions because of a property emergency, consistent with a bond plan. The Citi report included that undertakings drop and hold over the primary Mena advertises slipped to $1.69 trillion in August from $1.7 trillion in July. In other markets Saudi Arabia has included $81 billion of preparatory undertakings to its pipeline since July, while Kuwait has ventures worth $20 billion in the early phases of construction and Qatar has $2 billion. Kuwait and Qatar additionally have ventures worth $20 billion and $2 billion separately that are in preparatory phases of construction. Conversely, UAE indicated a $12 billion decrease in preparatory tasks to $118 billion.
Delay in projects is bound to affect the recovery process. A stoppage in Abu Dhabi’s construction business could startle speculators and crease any juvenile recuperation in Dubai’s fumbling land business sector. Abu Dhabi has pushed back the handing over of major ventures like Louvre and Guggenheim museums. For consultants, a number of who had relied on Abu Dhabi to counterbalance the fall of Dubai’s property showcase in late-2008, the stalling of state-supported tasks is a wellspring of concern. Abu Dhabi is being reasonable from a budgetary outlook; however this will have a huge effect not just on Abu Dhabi but simultaneously on Dubai as well.
This choice will likewise have a major effect on the construction area. There are not many individuals who work in Abu Dhabi and as such, the rents may experience a downfall. This will obviously have an effect on Dubai. It won’t be useful for the land area in both Abu Dhabi and Dubai.
The main reasons for delay in projects in the Kingdom of Saudi Arabia
Delay in projects is a menacing issue in the construction business universally and Saudi Arabia also has to bear the brunt. The most recent details indicate that more or less 70% ventures in KSA have been postponed in the previous decade. Therefore, the development activities in KSA are confronting an enormous budgetary misfortune, a bargain in quality, and long holding up times to work the activity for open administrations. In this connection, the study expects to donate to the dialogue by delineating the essential explanations for postponement in broad daylight constructing tasks in Saudi Arabia with their relative essentialness.
For this reason, a far-reaching writing was explored and a development industry review was directed utilizing surveys within KSA. Out of 182 surveys, 98 surveys were gathered as review information. The review incorporated 63 postponement elements and the members were requested to show their degree from essentialness. The explanations for deferral were aggregated into 4 classes, for example owner/client identified variables, builder identified elements, specialist identified components, and outer variables.
The discoveries of the paper prescribe that the builder and owner/client identified elements are the most discriminating components that reason to defer the development ventures in Saudi Arabia. In the wake of identifying the nexus makes, an endeavour will be made in the second part of the examination paper to improve a danger administration framework/model to wipe out or to minimise the effect of deferrals in the development tasks.
The nexus test for development associations is to finish the ventures on time and inside the evaluated plan, as development defers dependably enhance venture costs. The development industry donated 30 to 40% to the development of the KSA economy and the administration of Saudi Arabia is as of now putting overwhelming measures in the development business.
Regardless of the enormous speculation, associations are even now confronting defers because of distinctive components that have high sways on the development undertakings and at last bring about higher task takes than initially evaluated. A study discovered that around 70% of all open part development ventures were postponed because of a few elements in development ventures in KSA. Additionally, almost 60 percent of the water and sewage ventures in the Eastern Province of Saudi were delayed in the last couple of years. Besides, from 20 haphazardly chosen deferred ventures, the degree of postponement was 110%.
The issue of deferral in the development ventures in KSA is not another issue and has made a negative picture for the industry. This negative picture has roused numerous specialists to research the issue in numerous past studies in a KSA setting. According to reliable sources, it has also been learned that the sum evaluated quality of KSA’s deferred open ventures is practically Sr550 billion which is proportional to US$147 billion.
Notwithstanding, the reality of the issue with the nation’s improvement arranges because of the precise high require caused as an after effect of such defers, there has been an endeavour to figure out the principal explanations for deferrals in fabricating development ventures in Saudi Arabia, as seen by the development gatherings included in development exercises.
But all said and done, the issues in the construction business fluctuate from nation to nation. Cannon considered the explanations for postponement in the assembling tasks in the United Kingdom. He studied designers, draftsmen, furthermore foremen and discovered that the deficiency of venture administration aptitudes, the vast volume of provisional labourers, health and wellbeing, indebtedness, and prosecution are the crux issues that the UK construction industry has confronted in the course of the most recent two decades. In the United States, the top five discriminating variables creating defers in the development industry are
- regard for assembling commission,
- progressions in place,
- progressions in outline,
- absence of complete documentations, and
- review forces.
Furthermore, Ahmed discovered that the greater part of these issues happened because of the builders utilizing unskilled workforce.
The most vital variables creating deferral were:
- drawings on planning and approbation,
- insufficient and unfortunate arranging,
- absence of snappy choice making from possessor,
- absence of labour,
- absence of fitting supervision and administration,
- absence of labour gainfulness,
- absence of labour abilities,
- absence of accessibility of gear and material,
- challenges in taking approbations from government powers and metropolitan panels,
- contractor identified financing throughout development.
Numerous analysts from different nations have directed parallel considers in discovering the purposes behind the postponement in the development undertakings. For example, Frimpong, from Ghana, highlighted numerous delay elements, for example back issues and updates in regular and material identified components; Razek examined the explanations for postponements in development ventures in Egypt and discovered that deficient contractor experience, instalment delays, inadequate and dishonourable arranging, non-usage of expert construction/contractual administration are the essential components bringing about postponements.
There were 56 essential explanations for deferrals in great raising ventures of KSA. In the perspective of contractor, generally basic deferral variables were: shop drawings, instalment delays, and updates in place and plan. From the advisor’s perspective, huge explanations behind deferrals were cash issues, absence of brisk choice making by the holder, and an absence of acquaintanceship between subcontractor plans. From the possessor’s point of view, the elements initiating deferrals were: slips in framework plan, administration issues in task holder conglomeration, and absence of skilled labour. Three variables were generally significant: money stream challenges and monetary issues, issues with acquiring allow from diverse powers and government firms, and level offer score framework.
Owner/client Related Factors
There were 17 owner/client identified postponement components were incorporated in the survey. Consistent with the overview outcomes, the most essential postpone consideration from the manager’s outlook is the unexpectedly poor results from the least bidders. Consistent with the review members, the other crux considers identified with the owner/client which are bringing about deferral issue are: postpones in advancing instalments by the manager, Inadequate unanticipated arranging of the venture, defers in the endorsement of contract submittals to the manager, defers because of a moderate choice making methodology of the holder, and plan updates by the manager. The respondents accept that deficient accessible utilities on location and botches in soil examination are the minimum impacting element in reason defers.
Aspects pertaining to the contractors
The agreement identified components were comprised of more than 20 postponement components where ‘delays in the sub-contractor’s work’ with essential list 45. The number (quantity) 74 was highlighted as a top generally basic component bringing about time overwhelm in the KSA development segment. Add up to 46 out of 98 members (47%) chose profoundly imperative alternative on the statute scale. Thus, unfortunate capability aptitudes and experience, unfortunate arranging and planning, deficiency of qualified designs, postpone in readiness of shop drawings, and money stream issues confronted by the contractor were stacked up as afterward five explanations for postponements consistent with their particular significance lists.
Consultant Related Factors
Because of a high level of effect (47%), ‘delay in regard of shop drawings’ with most astounding essentialness record (i.e. 34.23) was picked as the most impacting component around 11 postponement variables identified with the specialists.
What’s more, outline progressions, unfortunate and lacking capability of supervisory staff, documentation issues, also nonattendance of crux workforce were stacked up as afterward four significant issues that bring about postponing the development ventures in KSA. Then again, consistent with the advisors, outline lapses and unfortunate conveyance and coordination by the advisor architect have less significance in deferring the ventures.
External Factors
There were aggregate 12 outer variables likewise incorporated in the poll to see their effect on the development ventures. It was uncovered that the ‘non usage of expert development contractual management’ and ‘rise in the costs of the materials’ with their separate records 37.97 and 37.93 were the generally noteworthy outer variables initiating defers in KSA development segments. Numerous other outside components for example not making a difference deliberate building technique, postpones in determining contractual issues, budgetary nearby also worldwide conditions, and clashes around builder, possessor and specialist were likewise stamped as a basic outside components bring about deferrals.
The study was led to discover the most vital variables bringing on postponements openly fabricating undertakings in Saudi Arabia. In examining the postponement variables from the points of view of the development members, the most noteworthy mean normal (34.54) in table1 indicates that great amounts of postponements are happening because of the builders. The next most elevated average normal (31.22) of postponement variables is speaking for an owner/client as second generally affecting development party bringing on postponements. Likewise, advisor identified variables and outside elements were having slightest mean midpoints 29.51 and 24.39 individually.
With a specific end goal to recognize postpone figures with most elevated effects on the development undertakings in KSA, the analyst endeavoured to rank every one of the 63 postponement variables without ordering them in any class. It was discovered that top 10 elements bringing on postponements are:
- Low exhibition of the least bidder contractor in the Government Tendering framework,
- postponements in sub-foremen function,
- unfortunate capability, abilities and knowledge of the contractor’s specialized staff,
- unfortunate arranging and planning of the undertaking by the contractor,
- postponement in advancement instalments by the holder,
- deficiency of qualified designs,
- postponement in arrangement of shop drawings
- money stream issues confronted by the contractor,
- insufficient unanticipated arranging of the activity, and
- non-use of expert development contractual administration.
The Architecture Design Process
Arranging and executing New Product Development (NPD) undertakings is a testing undertaking. This stems to a limited extent from questionable matter in their conduct – case in point, in the length of time and conclusion of their constituent exercises or in the accessibility of assets to perform these exercises. This paper is spurred by the speculation that building outline methods might be designed to be vigorous, i.e., to convey worthy results regardless of questionable matter, and that this could cause venture administrators to convey their undertakings on time and on plan. A methodology’s structural engineering assumes a significant part in figuring out its conduct.
A few creators have talked over how outline process architectures could be adjusted to better manage doubt and thus to be more vigorous. This existing research falls into two classes. In the first class, creators keep tabs on giving informative structures and categorisations of the courses in which framework power could be broke down and made strides.
Nonetheless, their system does not concentrate on the configuration process specifically and it is not clear how it could be connected to enhance plan forms in practice. Chalupnik endeavours to address the first confinement by examining the heartiness of an outline process regarding its reaction to defers in distinctive assignments. They highlight four routes in which a deferral in fulfilment of one assignment can impact complete methodology length of time: proliferation, amassing, ingestion and lessening. They show how these impacts can emerge from certain game plans of little amounts of errands and asset demands.
Despite the fact that this grouping can serve to demonstrate handle heartiness, Chalupnik just shows that each of the four cases can happen; they don’t demonstrate how the system could be connected to enhance the power of a procedure.
Chalupnik distinguishes game plans of assignments which act to proliferate, aggregate, assimilate or decrease assignment delays. In the second classification, different creators use numerical/analytical systems to study plan transform power by keeping tabs on specific research endeavours. They infer those models of configuration methodologies on this scale commonly include an excessive number of questionable variables to effortlessly examine their heartiness. Moreover, the provision of re-enactment modelling to investigate a framework’s reaction to questionable matters in it include variables presupposes certainty in the correctness of the model.
On account of complex outline forms, in any case, it is troublesome to adjust reproduction models or generally contrast them with the methodology they act for. This challenge comes up from elements incorporating the long span and non-repeatability of activities, the intricacy of procedure conduct and the constrained diagram of procedure members. The requirement to minimise the expense of modelling additionally requires numerous disentangling suppositions, case in point in how an undertaking reacts to the revelation of revamp.
In synopsis, consequently, much outline process heartiness expositive expression either gives abnormal amount portrayals of impacting variables or is dependent upon the dissection of high-devotion process models which might be demanding to get in practice. This paper supplements the existing literary works by indicating how recreation routines might be connected to investigate the determinants of outline process vigour without needing re-enactment models of particular methodologies. We contend that these bits of knowledge might be connected to enhance more intricate, practical courses of action. Investigating the heartiness of particular methodologies to indeterminate include variables requires an elevated amount of certainty in model loyalty and is computationally costly.
In this paper, methodology re-enactment is utilized to explore how the heartiness of undertaking groups is affected by the number of conditions between assignments and the asset demands inside the group. We indicate how heuristic conclusions might be drawn about the elements which oversee process vigour and contend that these heuristic outcomes can furnish knowledge to underpin the change of additional complex methodologies.
Specifically, comments, for example ‘modifying a methodology to lessen the interdependencies between assignments has a tendency to enhance its strength’s might be created from recreation comes about and can give direction for development which does not require a high-devotion model of a particular methodology or computationally unmanageable dissection of its conduct. Besides, since such heuristics don’t require information of the particular organisation of assignments the whole time, they could apply to the configuration of novel items for which the procedure can’t be effectively portrayed and is accordingly challenging to recreate straight.
Our methodology is comparative to Flanagan who studies how the connectivity of errands in a procedure can impact its likely run of lengths of time. They reproduce six theoretical courses of action, every involving 100 assignments whose concurrency is restricted by an alternate number of haphazardly put qualified data conditions. They presume that as this number builds from 5% to 30% of the speculative greatest (in which each assignment requires qualified data from each other assignment) the variability of conceivable terms likewise increments. They depict the procedures with expanded variability as less strong than the ideal case.
These discoveries offer a conceivable track to enhance prepare heartiness, i.e., by reengineering plan procedures to decrease the qualified data stream imperatives. Then again, the sweeping statement of Flanagan et al.’s decision is constrained by the modest specimen of models which were examined.
Rather than recreating a minor number of speculative models of reasonable multifaceted nature, in this paper we endeavour to address the example size issue by reproducing great amounts of theoretical pieces embodying 3, 4, 5 and 6 errands individually. Since configuration methodologies are in practice apportioned into aggregations of errands which communicate through moderately generally demarcated interfaces, we suggest that it is conceivable to draw handy bits of knowledge by inspecting the facts of how expansive amounts of speculative pieces carry on.
We demonstrate the groups utilizing an errand-based recreation system, in which the sequencing and concurrency of errands is compelled by the informative data streams and asset requirements between those undertakings.
We create all conceivable reliance arranges for 3, 4, 5 and 6-errand bunches then relegate an extent of qualities for the term of every assignment in every such variant. Every variant is then mimicked to compute its reaction to a deferral acquainted with every errand in turn, in respect to the pattern instance of no deferrals in that variant. The effects of these examinations are put forth in a structure which highlights the effect of assignment connectivity degree and asset stipulations upon the capacity of the group to ingest defers, autonomous of different variables which impact process conduct. The examination demonstrates that the discoveries are extensively autonomous of the number of assignments for the 3, 4, 5 and 6-assignment cases.
Suspicions
The examinations are dependent upon a procedure modelling skeleton which permits transform span to be computed from the lands of unique undertakings and the structure of informative data streams between assignments.
This system is known as the Applied Signposting Model (ASM). In review, the ASM is dependent upon the accompanying suspicions:
- The request of endeavouring assignments is administered by qualified information streams, such that an undertaking is endeavoured quickly that all its forerunners are finished.
- Tasks may be conceivable to execute simultaneously given the informative content stream demands.
Then again, this may be restricted by asset accessibility – if two undertakings are prepared to begin however both go after the same asset, then one must be chosen and endeavoured first.
- Task choice approaches represent which undertaking is endeavoured when more than one undertaking is conceivable to begin yet they can’t be executed in parallel because of asset restrictions.
- Tasks are autonomous throughout execution. In different expressions, an undertaking’s sum term and asset utilisation are resolved around then it is begun and can’t be affected by consequent occasions.
- Tasks might have numerous conceivable yield situations. The point when the undertaking is finished, a solitary yield is chosen consistent with coherence specified in the assignment definition case in point, an assessment undertaking may “flop” with a specified recurrence). This permit stretching and emphasis. Various different surmises represent the conduct of the model according to improve. On the other hand, since the tests reported in this paper don’t test cycle these suspicions are not examined here.
This section presents the grouping of occasions of a task from its plan idea through the last design and development stage. It is planned to state and revive the structural architect’s part and obligations in the design and development prepare to the regular objective between the possessor and the design expert: a quality task intended for its planned utilization and built inside the customer’s plan and time limitations.
The structural architect must carry into the criminological coliseum his or her scholarly preparing, pragmatic information, and experience (counting victories and dissatisfactions), then after that convert his or her part to that of an analyst or investigative columnist for an efficacious case investigation. Each bit of proof in the case, incorporating figuring, drawings, development materials, and items ought to be archived for audit as a major aspect of the information gathering process for examination preceding figuring estimation.
The point when appropriate, the measurable architect may as well visit the site of the troubled range, on the surface inspect the flops, photo and archive the parts of the disappointment, and demand certain tests to be performed, if and when material, before rendering a supposition.
Now and again, a composed report may be solicited by the customer. Imply the National Practice Guidelines for the Preparation of Structural Engineering Reports. More regularly than not, the legal specialist will be held as a master witness. The point when stood up to throughout prosecution by contradicting counsellors or alternately contradicting masters in court he or she should show finish comprehension of the criminological process, and in addition the outline also development process, and have the certainty and capability to form and convey expert estimations that are morally, and ethically and actually right.
To fulfil this mission, one must be completely acquainted with the whole range of occasions prompting constructing a structure from its beginning to last utilization. The Council of American Structural Engineers (Case) 14 has recognized the part of the Structural Engineer (SE) and that of the Forensic Engineer (FE) with unobtrusive yet strong qualifications as accompanies:
Structural Engineer (SE): A specialist with specific information, preparing and encounter in the sciences and math identifying with dissecting and outlining of energy opposing frameworks for edifices and different structures.
Forensic Engineer (FE): A structural designer who, through preparing, instruction experience and information is distinguished by their companions to control particular informative content on a given structural topic and who is encountered and versed in the moral practice of scientific building and is for the most part learned with the debate determination forms.
A design is a result of one’s thought or vision, which is then, as far as structures or structures, changed into a deductive or masterful example from which items are determined for the development of an activity to help a holder or the society.
The design of a structural segment is performed through the utilization of modest standards of math, material science, and building frequently with dependence of distinguished industry handbooks (cookbooks).
For a structure to be practical, it might as well have repetition and have the ability to oppose an orderly downfall situation as set forward in the American Society of Civil Engineers (ASCE) Standard ASCE 7.
If there should arise an occurrence of a construction, the engineer is the inventor of the structure for its useful and tasteful shape and has the avocation to facilitate the design handled by held specialists. The designer is comparative to a symphony guide directing the performers to the consummation of a fulfilling occasion for the general population. In the outline of a task the designer runs his or her specialists to an efficacious undertaking. The engineer audits and accomplishes the customer’s system for space designation and utilization. In conjunction with the space necessities, the designer gets ready different exterior plans incorporating window sorts and divider materials for the customer’s survey and approbation.
Based upon the directions from the customer, the draftsman gets ready draws or alternately drawings to exhibit to the proper specialists for his or her survey and execution into the design procedure. Every specialist is an authorized expert in his or her particular field. The structural specialist is answerable for the outline of the floor confining frameworks, their backings, and establishments. The mechanical architect is answerable for the warming and ventilation frameworks, electrical and pipes necessities, and life-security frameworks.
Skyscraper office edifices might require a lift expert whose finesse is modifying the number and time span for individual’s development and identified gear. The civil designer, otherwise called the site specialist, is answerable for the site reviewing and seepage, access streets, and stopping prerequisites. On certain undertakings there may be supplemental particular specialists, for example geotechnical, acoustical, window/façade, lift, research centre, arranging, and impact designing to help the designer for the specific needs of the undertaking.
Understanding between parties
Preceding the execution of a design or beginning of development function, an assertion between gatherings is entered which portrays the commitments and obligations of every gathering together with the extent of work allotted to every gathering.
Further, the Forensic Engineer (FE) held by the customer might as well enter into an assertion for administrations comparable to Case Document 12.
Drawings and specifications
The drawings and details involve the records from which the contractor will manufacture the structure.
Drawings
Drawings envelop the structural, common, structural, and mechanical callings, and are the method of passing on diagrammatic definite parts of the design parts of a structure.
Building Drawings
Structural drawings pass on the stylish and useful parts of the task, and incorporate the fiery breakout evaluated arrangement of the structure, inhabitancy, exiting prerequisites, and conformance to the Americans Disabilities Act (ADA). These drawings usually hold the under mentioned:
Title/cover sheet: notwithstanding the title of the undertaking, it typically designates the undertaking foot shaped impression, area, and range scope concerning the sum property region, nexus plan, the correct north shaft, venture plan north shaft, appropriate nearby construction regulation references, characterization of the assembling for inhabitancy and fire rating, and a record of advisors.
Elevations: A pictorial perspective of every veneer of the assembling demonstrating windows, entryways, and so forth.
Assembling areas: An itemized sectional view through the fabricating taken typically in the venture north-south and east-west heading.
Areas and parts: A bigger scale dimensional itemized presentation of relevant development parts, their interface associations with different materials.
Civil Engineering Drawings: Common designing drawings demonstrate site and venture areas, vehicle receptiveness, geology, site seepage, and perhaps view necessities, despite the fact that this angle may be performed by an authorized scene draftsman instead of the undertaking planner.
Structural Drawings: Structural drawings demonstrate the design burdens and appropriate raising code criteria, and characterize the structural confining frameworks and their backings and establishments. These drawings will hold the accompanying:
Establishment plan: Generally attracted to 1/8 = 1ft 0 in scale, demonstrating the sort of backing establishment chose for the constructing structure incorporating the needed soil bearing limits, heights, extents, cement qualities, and fortifying steel.
Encircling arrangements: Generally attracted to 1/8” = 1′ 0” scale, demonstrating the needed floor and top encircling frameworks which incorporate the areas of segments, areas and sizes of the floor deck (pieces), help beams/girders or trusses. These drawings will ordinarily show section loads, bar responses, and part minutes where pertinent. These burdens might incorporate mechanical gear; lift sheave pillar responses, lift underpin truss responses, and so forth.
Section schedule: A plain lattice of the constructing segments demonstrates sizes and weights of steel and cement sections with the presupposed strengthening steel. Likewise, the burdens on a designated section at every floor level, the section join area with change in section estimate (if material). Base plate sizes (for steel sections), fortifying dowels for section docks, strengthening steel for cement segments, and the sum load of the sections on the establishment are additionally demonstrated.
Rises: Showing the design of edge dividers, shear dividers, part sizes of trusses or vertical supporting frameworks demonstrating constrains in the parts together with finish minutes (when appropriate).
Segments and common details: Drawn to a bigger scale and extents, demonstrating point by point interfaces with the encompassing materials or parts.
Mechanical Drawings: Mechanical drawings designate the warming, ventilating, and air-conditioning frameworks, electrical conveyance necessities, fire and security frameworks, sprinklers and fundamental pipes necessities. These drawings will usually hold the ventilation work sizes and areas and will designate needed openings in the structure for their ways. Design Drawing Phases. The most well-known plan attracting procedure is five different stages.
Concept plan Sketches (CS)
The modeller, usually in show with the structural designer, starts a design which in a few cases may require exchange structural confining frameworks, dependability, and constructability plans. This stage ordinarily constitutes 10 percent of the sum exertion for the proposed undertaking and comprises of arrangement extents, general section areas, and building characteristics incorporating plausible front materials. This informative content is exhibited to the holder in the manifestation of expert outlines or drawings, and periodically incorporates a rendering of the activity.
Preparatory Design (PD)
Upon regard of the Cs by the holder, the outline enters the preparatory stage, wherein a chose plan is produced into a more outlined extension with the structural and mechanical experts. In this stage, blueprint details for materials and their utilization in the development are noted from which preparatory plans for financing necessities, booking and development are determined. The finish of this stage typically is recognized as 25 percent of task plan finish and is put forth in the type of hard-lined drawings (CAD) acting for the premise of the activity.
Design Development (DD)
Upon support of the Pd submittal, the activity now starts to take shape. The structural frameworks are concluded; the mechanical prerequisites are demarcated; the veneer and inner part completions are chosen and fused; and the venture cost evaluations are all the more solidly designated. The closure of this stage is currently 50 percent of venture plan fulfilment.
Construction Document (CD)
After the indispensible supports from the possessor, the venture enters the last design stage wherein all the controls of the outline crew are in the phase of concluding and specifying their work to 100 percent finishing of the plans, to be primed for offers. Then again, regarding the sum activity, the closure of this stage speaks for 75 percent of the aggregate design. The remaining 25 percent is allocated to the “development stage” otherwise called the development organization stage. There are ventures that end at the “development record stage.” Therefore, coordination of the activity drawings around the design orders is totally vital wherein the designer or design, as the prime design expert, expects the intelligent part of heading the group.
Specialized particulars are concluded in this stage by every order and are included to the general conditions incorporating offer shapes for circulation to prospective qualified bidders. After the design offer records are discharged for offering and ensuing addenda, if any, are issued, the design parcel of the activity is lacking nothing, and the task enters the development organization stage.
Construction Administration stage (Ca)
When an agreement is marked by the manager, or bureau approved to follow up for sake of the possessor, for the development of the undertaking, the outline record terminology is updated to development reports or once in a while called a set of acclimated records.
This refinement is made since the agreement for the development of the undertaking may have conditions or exemptions to the design archives.
In the development organization stage the prime originator audits the builder’s submittal of shop drawings, supplies and material particular submittals; performs site appearances; goes to gatherings with builders; reacts to the contractor’s solicitation for request for information (RFI); and issues elucidation portrays and manager launched updates to the venture.
It is paramount to note that there are numerous scenarios, especially on government generated ventures, wherein the venture development government stage is performed by an additional outline crew or by a legislature bureau, for example the Department of State or the General Services Administration.
Specialized Specifications
Part 1—General
Comprises of the general depiction of the extent of work for the area, or exchange, for which the determinations are composed.
Records pertinent codes and norms
Records and depicts the needed submittals, e.g., shop drawings and building counts for things composed by the builder; item details; ensures or warrantees.
Characterizes the builder’s quality assurance (QA) and quality control (QC) systems
Part 2—Materials
- Depicts the materials to be utilized as a part of the development
- Depicts the supplies to be utilized as a part of the venture
Part 3—Execution
- Creation necessities and conditions
- Material conveyance and security before utilization
- Introduction techniques and tolerances
- Testing necessities throughout creation and introduction of specified things
- Particulars are and ought to be ready by the undertaking design trains in particular for the specific activity and not submitted as an off-the rack thing.
Shop Drawings
Shop drawings reflect the builder’s grasping and translation of the development archives for the creation and instatement of the different segments utilized within the development of the undertaking. These drawings are definite to demonstrate the succession of gathering of different parts of the venture, and its last structure or position inside the venture.
Shop drawings are submitted to the design crew for audit preceding the true creation or get together of development segments since time is of the force. Defers in support of shop drawings might affect upon the development calendar and further deferral different exchanges to proceed their function.
The fabricator incorporates a most extreme remittance of fourteen (14) days in his calendar for the reappearance of shop drawings. [Note: If the designer or the structural specialist does not take serious note of these points throughout the offer duration, at that point the architect or the engineer should maintain the above or take the danger of appropriating a deferral asserts from the contractor.]
The usually acknowledged adaptation is that the structural engineer of record (SER) is answerable for the whole structure and its segment parts unless the creator explicitly gives sufficient informative data (i.e., strengths; incorporating responses and minutes) on the agreement reports and teaches the builder (detailer) to accept the authority regarding the design of certain designated associations or alternately parts.
The methods and techniques for development, which for the most part incorporates the accompanying:
- Underpinning of existing nearby structures
- Outline of formwork for cement development
- Propping, shoring, and restoring of cement function
- Development stacks encroached on the structure throughout development
- Makeshift propping of the structure throughout development for wind and other parallel burdens
- Stacks encroached on the structure throughout development, for example cranes, space, and interim supplies loads
- Architect’s and Engineer’s logs
It is vital for the outline crew to secure a progressing record of the venture for conceivable guarantees started by the contractor or even guarantees by the design group because of contractor’s slips or holder’s progressions. The engineer’s and structural architect’s documentations, frequently implied as logs, for an undertaking are essentially comparative. These logs ought to be composed and looked after in a protected and secured region and might as well incorporate the accompanying:
- Outline logs and records
- Understanding and conditions between the design expert and the customer
- Customer’s endorsement of the requirements and criteria of the venture
- Government requisitions and approbations
- Outline computations
- Correspondence, records, minutes of gatherings and dates of all submittals to customer furthermore specialists
- A record duplicate of drawings and determinations of every design stage submittal (PD, DD, and CD reports)
- Shop drawing submittals
- A log of every drawing submittal, showing when gained, when looked into and discharged with suitable activities.
- A record of item and test submittals
- Minutes of gatherings and staff in participation
- Development organization
- Comes about of development material tests
- Composed report of every site visit, appropriated to intrigued gatherings
- Log of all field office memos (FOMs)
- A log of all contractor’s demands for informative content (RFI), when accepted, when and how reacted
- Minutes of gatherings
- A record of sanctioned change requests (Co) and releases
Examination and Testing
In spite of the fact that the expressions “review” and “testing” are utilized synonymously within the development field, they have dissimilar parts in the assembling scene.
Examinations throughout development are solicited to be performed straight by an enlisted expert build or by an architect under the supervision of an enrolled expert designer.
Review throughout development is shortly a prerequisite of IBC (International Building Code).
The meaning of review shifts with task area and local manufacturing office prerequisites which are basically around then of development. The accompanying is a halfway record of powers that require review of structural segments throughout development.
Venture determinations might as well record at any rate the base prerequisites for examination and testing of the sub grade, solid, steel, brick work, and timber structures that are talked about underneath.
Sub grade
The accompanying review and testing of the sub grade ought to be done.
Borings
National construction regulations, all the more explicitly, global construction laws require at any rate one dragging for 2500 ft for all edifices which are more than three stories or 40 ft in tallness.
Whenever it is proposed to utilize drift, mat, or any sort of profound establishment, there should be at slightest one exploratory dragging to shake or to a satisfactory profundity beneath the burden bearing strata.
Some construction regulations, for example that of New York City, require the dirt dragging examinations to be under the supervision of an authorized expert designer (rather a geotechnical building specialist) enlisted in the state of the activity.
Standard test borings ought to be brought as per ASTM D-1586.1
Sub grade examinations may as well learn the vicinity and the height of regular ground water through the introduction of piezometers for perception.
Assessments
A geotechnical specialist might as well additionally perform assessment of the readiness of the sub grade before the arrangement of establishment cement.
Testing
Fortified Concrete
Formwork Inspection: Investigation of cement work is especially imperative on the grounds that when the cement has solidified, redresses to any structural issues is amazingly troublesome and unreasonable.
Formwork propping and shoring is the builder’s authority, along these lines the architect is not included.
Implies and routines of reshoring are the contractor’s avocation, hence the originator is not included
Curing strategies ought to be as per the venture determinations or anyhow submit to the prerequisites of the American Concrete Institute Building Code.
Precast-Pre-stressed Concrete
Plant creation is finished by a PCI (Precast Concrete Institute) affirmed maker.
Field associations ought to be checked by the testing bureau, comparative to structural steel examination necessities, since ordinarily associations of structural steel either are catapulted on the other hand welded.
Structural parts presupposing bearing cushions might as well to review for area, size, and positioning.
Structural Steel
High-quality jolts ought to be weighed as per ASTM A325/490.
Note that slip-discriminating catapulted associations require exceptional thought.
Timber
Size, area, and types of the parts ought to be checked.
Generally, uncommon associations, darting, and nail designs require assessment
The architecture design process might be classified into the following stages: schematic outline, outline advancement, presentation and assessment, item improvement and construction archives, offering, and management of the construction. In the schematic outline stage the general aspects of the fabricating are secured. Noteworthy issues are distinguished, and starting design choices are made. Throughout the design improvement stage the particular character and aim of the whole activity are depicted. The presentation and assessment stage is an iterative process throughout which recommendations are exhibited for survey by a customer, audit board, or outline jury, and outline choices are settled.
Taking after the regard of the design, parts are produced and construction records are prepared. These may be a blend of working drawings and composed determinations which serve as a lawful depiction of what is to be assembled. As the construction archives close finishing, they are discharged for offering, and a contractor is chosen. The last stage of the outline methodology is the one in which the engineer manages the construction, deciphering progressions and judging performance.
All through the greater part of these stages, engineers end up performing a mixture of assignments, extending from the most inventive to the utterly unremarkable. Workstations were acquainted with the compositional calling with the trust that they might free planners of the commonplace, manual errands, and help in the administration of informative data. Utilization of Computer-Aided Design (CAD) has developed through the decades. It has helped in the computerization of assignments and in the administration of qualified data, particularly in the later stages of the outline procedure.
Notwithstanding, Cad has had small affect on the prior stages of design. In this manner, there is a focus in the design procedure when planners and planners must make a mental jump from representations and examine models to Cad representations in two or three extents. Deliberations are almost always made to hearten the advancement of Cad frameworks to empower their utilization by designers prior in the outline methodology.
An imperative essential for the expanded acknowledgement and utilization of Cad is an interface which will permit modellers to make and cooperate with their computerized outlines all the more naturally. Virtual Reality (VR), maybe the most propelled of three-dimensional interfaces, has much potential for improving the way draftsmen and architects connect with their computerized models.
VR has been proposed as a suitable new instrument for modellers and originators. It is distinguished that the vast majority of these profits (and ensuing utilization of VR by the outline callings) will happen just after further progressions of the innovation. Notwithstanding, the particular progressions that are needed can just be distinguished and actualized after impressive utilization of the innovation. This iterative cycle of utilization, appraisal, overhaul, and utilize comes about as a part of devices which are more qualified to the occupation. The strategy for updating devices by watching how they are utilized is a normal one around ergonomists and human elements experts. The justification is that fulfilled clients are best equipped to suggest and survey updates.
The outline of edifices requires the reconciliation of numerous sorts of informative content into a stylish, suitable, and sturdy entire. A reconciled design process incorporates the engaged and proceeding investment of clients and neighbourhood parts, code authorities, manufacturing technologists, builders, cost specialists, common designers, mechanical and electrical specialists, structural architects, particulars masters, and advisors from numerous specific fields. The best structures come about because of constant, ordered joint effort around all players.
The reconciled design process empowers venture crew parts to function together from the activity beginning to improve results that have numerous profits.
The Integrated Design Process
This most punctual stage regularly incorporates a necessities appraisal: It can depict existing space use, gauge sensible spatial and specialized necessities, and land at a project around which a design methodology could be begun. For critical undertakings, a construction director and a draftsman ought to be locked in to direct the necessities appraisal; it might likewise be suitable for this group to prepare an expert arrange that places single plan exercises in setting. Regardless of a task’s extension, exploration and customizing is a significant first stage in advancing an auspicious outline.
Criteria for choice might incorporate the customer’s natural inclination for a particular structural dialect, the supplier’s encounter with the manufacturing sort, or, with the approach of satisfactoriness necessities, a competitor’s capacity to realize high natural exhibition in notable or new structures.
In conference with a crew that incorporates a builder, designers, scene designer, natural visual planner, specialist, practicality expert, and different authorities, the designer or prime specialist secures centre outline standards. The design group likewise might transform elective calculated methodologies to the customer’s necessities, and design to picture the exchange. Such inferences are intended to animate considered, possibly to depict the last result. Note the significance of the crew organization at this stage: full contribution of crew parts is basic, as distinctive bits of knowledge can avert exorbitant updates as time rolls on. Ceaseless coordinated effort between stakeholders likewise assists counteract unmanageable oversights.
Bit by bit a design rises that exemplifies the diversions and prerequisites of all members, while additionally gathering general region necessities and budgetary parameters. They demonstrate site area and conglomeration, general fabricating shape, appropriation of system, and a framework of segments and frameworks to be outlined or specified for the last consequence. Contingent upon the span of the task, it is frequently functional to have an expense gauge performed as of right now.
Plan Construction expands the scale of attention. More excellent part is created for all parts of the raising, and the community oriented process proceeds with the modeller or prime advisor expediting the different benefactors. The finish of this stage is a point by point plan on which all players concur and may be asked to close down.
The advancement of Contract Documents includes deciphering the Design Construction qualified data into arrangements suitable for evaluating, allowing, and construction. No set of contract reports can ever be impeccable, yet top notch could be attained by examination, responsibility to the introductory system needs, and cautious coordination around the specialized specialists on the outline group.
Choices press on to be made at this stage, however updates in extension will come to be more unmanageable once valuing has started; updates to the agreement records additionally welcome disarray, mistakes, and included expenses, in spite of the fact that new engineering like Building Information Modelling is starting to synchronize references for all plan group parts. Require assesses by an estimator may be made as of right now, before or synchronous with offering, with a specific end goal to guarantee agreeability with the plan and to check the offers. Offers taken right now may be utilized as a foundation for selecting a developer.
Originators and different parts of the crew must remain completely included. Choices at one time made might require elucidation, suppliers’ qualified information must be surveyed for agreeability with the Contract Documents, and substitutions must be assessed. Assuming that updates influence the operation of the constructing, it is particularly significant to include the user/client in their survey. Client prerequisites might change, too, and instituting those adjustments require wide counsel around the experts and sub-advisors, new evaluating, and consolidation into the Contract Documents and the fabricating.
The design group is answerable for guaranteeing the raising meets the prerequisites of the Contract Documents. In the interim, victory at gathering the prerequisites of the definitive project might be surveyed by the construction administration crew or third gatherings in a methodology known as commissioning. Here the full go of capacities in the assembling is assessed and the outline and construction crew might be called upon to make updates and modification as wanted.
After the fabricating is completely operational, it is regularly convenient to direct a Facility Performance Evaluation (FPE) to survey how the assembling meets the definitive and developing necessities for its utilization. (This may be reputed to be a post-inhabitancy study, despite the fact that FPEs are acknowledged to be more thorough.) Such informative data is particularly of service when further construction of the same sort is pondered by the same client. Errors might be avoided and victories rehashed.
This outline depicts the standard operation of the coordinated task crew. To guarantee the best effect, all gatherings must hold fast to the accompanying standards:
- Clear and constant correspondence
- Rigorous meticulousness
- Active coordinated effort around all crew parts all through all stages of the task
The Integrated, Multidisciplinary Project Team
Group Members in a procedure such as this may incorporate the accompanying:
The Owner’s Representative must represent the manager and be ready to dedicate the time to completely support, shield, clear up, and improve the manager’s diversions. This individual may originate from inside the conglomeration charging the activity or may be enlisted as an expert.
The Construction Manager is procured on a charge premise to confirm the logistics and expenses of the construction procedure. This individual might be an engineer, a general contractor, or counselling Construction Manager. It is useful for this individual to be included from the starting of the task. The Architect enactments as the lead in generally raising tasks facilitating sub-experts, requesting and championing the system, welcoming group include at correlated minutes, and guaranteeing agreeability with the plan. To that impact, in a few cases the draftsman enlists some or the sum of the sub-specialists.
Thereafter, he or she gives logically more exact and nitty-gritty inferences for the manifestation of the result and maintains the handling of the agreement archives. The draftsman ordinarily partakes in the construction stage of the task, surveying consistence with the agreement records through examinations, submissions endorsements, and assessments by the sub-advisors. The draftsman supports in the assessment of solicitations for instalment by the maker and different experts.
The Civil Engineer is vital for comprehension the area, soil, and administrative parts of any construction activity; unanticipated contribution is fundamental and the civil specialist is habitually contracted straight by the manager ahead of time of the design group. The common architect arranges his or her own particular contract reports and surveys work agreeability with the agreement reports.
The Landscape Architect is regularly part of the common designer’s assets, yet can likewise be included as an autonomous advisor. In either case, the scene planner ought to be included at a young hour in the undertaking to evaluate characteristic frameworks, how they will be influenced by the task and the most ideal courses to oblige the venture to those frameworks.
Counselling Structural, Mechanical, and Electrical Engineers might be locked in by the designer or they may be locked in independently by the holder. They are answerable for a fabrication’s structural, warming, ventilating, and ventilating frameworks, and additionally the force, indicator, and brightening parts of the undertaking. Every produces his or her own particular divides of the agreement reports and ought to be included in surveying the separate part of the work for consistence with those records.
Particular Consultants ought to be included as wanted by the exceptional prerequisites of the task. These may incorporate particulars scholars, materials and part experts, tolerability specialists, specialists, ecological visual architect, and specialized masters in fortes like kitchens, varying media frameworks, materials taking care of, and stopping. The size, unpredictability, and specialization of the undertaking will prescribe the sorts of supplemental specialists who will be wanted. Like all supporters to the incorporated design process, their recommendations and necessities ought to be joined at the most punctual stages of outline.
Results
Forthright Lloyd Wright implied this procedure as “natural plan”—he utilized the expression to imply the essential relationship in great construction modelling between the parts and the entire and announced it the designer’s commitment to guarantee consistency at each level of part.
Designers furnish the realistic and composed representations which permit foremen and subcontractors to change notions and plans into physical actuality. How successfully and effectively this conversion happens, depends expansively on the nature of the outline and documentation furnished. Tragically, builders are very frequently supplied with undertaking documentation that is inadequate, clashing or incorrect, in this manner needing illuminations to be furnished by the planners.
The point when this is the situation, the Request for Information (RFI) procedure is for the most part used to formally acquire the qualified information illuminations would have done well to permit construction to proceed. To guarantee advancement is not upset, it is essential that the qualified data needed is supplied to the contractor proficiently and at once. However the RFI methodology is quite wasteful, because of the high extent of non-worth including deferrals which happen in acquiring the vital qualified data.
A progressing examination of the conveyance and qualified data stream forms inside construction ventures has highlighted the RFI process as a specific issue range. One of the major points of this examination has been to characterize and categorize the explanations why RFIs are issued and to quantify not just their degree and yet the different portions identifying with their transforming.
Preparatory comes about of this examination infer that an examination of both the drawing registers and the RFI procedure can furnish pointers of outline and documentation insufficiency and general undertaking exhibition. The investigation of two careful investigations (construction ventures) is incorporated and issues for further examination are distinguished.
Recounted proof in Australia infers that in the course of the last 10-15 years, there has been a diminishing in the level of nature of design and documentation being furnished to builders. It is likewise guaranteed that this has expedited a relating diminishment in construction prepare proficiency, showed by expanded levels of builder RFIs, outline updates, outline coordination issues, varieties and improve, with comparing builds in undertaking organization workload for the different venture faculty.
As the nature of the design and documentation gave has a major impact on the general exhibition and productivity of construction tasks, a technique for evaluating outline and documentation insufficiency was considered essential. As the RFI methodology is essential used to illuminate lacks of determination in the reported qualified data supplied, a dissection of this procedure furnishes an establishment for improving a technique for surveying plan and documentation quality and general undertaking exhibition.
At the same time what is design and documentation quality? The point when recognizing design quality, a great design will be viable (i.e. serve the reason for which it was expected) and constructible with the best conceivable economy and security. But whilst the design itself ought to be “viable”, it additionally ought to be imparted viably through the documentation (i.e. drawings, determinations, and so on.). The point when documentation quality is acknowledged, various criteria confirm the level of value:
- Timeliness -being supplied when needed in order to stay away from deferrals;
- Accuracy -free of blunders, clashes and inconsistencies;
- Completeness -giving all the qualified information needed;
- Coordination -careful coordination between outline restrains; and
- Conformance -gathering the necessities of exhibition models and statutory regulations
In this way, the nature of the outline and documentation procedure can essentially be demarcated as: The capability to furnish the contractor with all the informative data would have been wise to empower construction to be done as needed, productively and without prevention.
As the outline and documentation process has such a major bearing on the general exhibition of the finished task, a system to evaluate the nature of the outline and documentation methodology is likewise liable to furnish a marker of likely general undertaking exhibition.
Exhibition Indicators
As demonstrated above, it is recommended that the investigation of undertaking drawing and RFI registers can furnish exceptional markers of the nature of the outline and documentation transform furnished on construction ventures, by highlighting regions of insufficiency.
Drawing registers
As the general nature of the documentation issued all through a task influences venture productivity, a modest investigation of the drawing registers gives an exceptional beginning implication of territories of likely documentation insufficiency. An investigation which highlights both the progressions in the amount of single contract drawings issued and the amount of updates made, permits correlations between ventures and the design controls included. In spite of the fact that the activity acquirement framework utilized on every task will have a huge impact on the effects accomplished, this might be considered when surveying the information gathered.
RFI process
An examination of the RFI methodology furnishes an improved pointer of the general nature of the design and documentation transform by quantifying the degree of the insufficiencies in the reports and their relative intensity. Examining the volume of RFIs in connection to contract esteem and venture term furnishes evidence of the degree of outline and documentation insufficiencies, whilst an evaluation of the reaction times to these RFIs furnishes an evidence of their intensity. In spite of the fact that the RFI procedure is utilized by builders and sub-foremen for a mixture of purposes (see Table 1), it’s essential capacity is:
To formally ask for extra informative content, or elucidations to existing informative data, in connection to how the venture is to be developed to meet the venture prerequisites. Because of the wide mixture of undertakings for which RFIs are utilized, just the examination of these essential RFIs -ordered as informative content illuminations -ought to be utilized to confirm the markers of the general nature of the design and documentation prepare furnished on every task.
RFI characterizations
The RFI sort orders were resolved from an appraisal of information gathered on various research endeavour ventures as demonstrated in Table 1.
Table 1 List of RFI sort characterizations.
A breakdown of these qualified data illuminations can likewise be completed to recognize the explanations for inadequacy which are generally pervasive and permit correlations between tasks. Once more, taking into account an appraisal of information gathered on various research endeavour ventures, the RFI reason sub-orders were resolved as demonstrated in Table 2. Informative data illuminations are recognized to be the essential RFIs and they are likewise anticipated that will be the most various.
Table 2 List of RFI reason sub-orders.
Acquiring data
As a component of a general study into qualified data and correspondence streams inside construction ventures, drawing issues and the RFI procedure were distinguished as ranges to be researched nearly. The study needed research staff to visit various locales on a standard support, and gather particular information identifying with the qualified data being imparted and the proficiency of the conveyance procedures included. This information was then categorized and entered into PC frameworks for relative investigation. The information for this paper has hailed from two comparatively estimated ventures, obtained utilizing minor varieties to the conventional acquirement process.
- Venture A is a 9 storied, prominent building. The contractual course of action for the improvement was dependent upon a focused customary knot aggregate contract, with the Architect as outline crew pioneer and superintendent.
- Venture B is a 9 storey, resort style room complex. The venture’s contractual plan was an arranged ensured greatest cost contract with continuous plan advancement throughout the construction period. A Project Manager was utilized by the customer to go about as their illustrative and help coordinate the outline group.
In spite of the fact that the contractual courses of action of both undertakings were half and halves of accepted knot whole contracts, the conveyance practices were especially diverse. The contractual plan on Project A managed the stream of informative data and accordingly all RFIs and following reactions moved through the Architect. On the other hand, the qualified data stream on Project B was considerably less organized and RFIs could be sent straight to the undertaking member capable, with a duplicate for flow to the Architect and Project Manager. Reactions were made in a comparative design, despite the fact that any activity needed must be embraced with a direction from the Architect. Table 3 furnishes extra near informative content noticing the two activities.
Table 3: Comparative qualified data identifying with the careful investigation ventures.
To gather the information, the different venture correspondence records were hunt and exceptional shapes conceived down the reason for existing were rounded out. Table 4 gives a record of the sorts of informative content gathered observing the RFI procedure. Access to venture workstation indexes of the documentation and drawing registers guaranteed correctness and encouraged diminish the time taken to gather the information needed.
Table 4: List of the prevailing RFI information qualified information gathered.
Documentation Analysis
Project A
In Project A, there was an impression of being an imposing dissimilarity between the volume of design drawings and those processed by the building controls. The building drawing registers indicate that from a beginning 150 drawings issued at the starting of the venture, the amount of distinct drawings issued relentlessly expanded to 398 by venture fulfilment.
The figure at Appendix 1depicts the breakdown of sum drawings processed by control (Project A).
Notwithstanding this increment in the amount of contract drawing issues, the registers show that 412 drawing modifications had likewise been issued. This might appear to demonstrate that the starting issue of engineering drawings was lacking to complete the extent of lives up to expectations.
The registers for the drawings from the building orders show a totally distinctive scenario. What added up to 92 building drawings were at first issued, expanding to 142 by the finish of the venture. Nonetheless, of the 50 new designing drawings issued throughout the task, 42 of these -the greater part of the new structural drawings -were issued inside the first month and might as well likely be acknowledged as introductory drawings. In spite of the fact that 142 single designing drawings were issued, the registers additionally demonstrate that 281 drawing updates were additionally issued.
These figures differ to a great extent from those of the engineering drawings. Although the amount of design drawings issued had more than multiplied, the amount of building drawings remained honestly consistent through the term of the undertaking. The extent of attracting corrections to contract drawings issued is significantly less for the compositional drawings than for the structural drawings. The dominant part of the building modifications was presumably issued to oblige the various updates to the compositional drawings. These effects give a clear sign of major lacks with the design process.
Project B
Rather than Project A, the investigation of Project B furnished a level of similitude between the structural and designing controls. The figure at Appendix 2 depicts the breakdown of sum drawings processed by order (Project B).
The registers for the structural drawings indicate that from an introductory 19 drawings, the amount of distinctive drawings issued relentlessly expanded to 91 by the finish of the activity. Notwithstanding the increment in the amount of contract drawings, the registers show that 233 drawing updates had additionally been issued. Again this might appear to demonstrate that the introductory issue of building drawings was deficient to do the extent of lives up to expectations. However as noted formerly, continuous outline advancement throughout the construction stage was part of the contractual course of action with the manufacturer.
The registers for the drawings from the building orders show a comparable scenario. What added up to 40 building drawings were at first issued, expanding to 97 by the finish of the activity. The registers additionally indicate that 243 drawing updates were issued.
Although the increment in the amount of structural and designing drawings was reliable with the progressing outline improvement game plan, the high number of modifications might appear to show major inadequacies in the building outline advancement process. Similarly, as with Project An, it is acknowledged that the greater part of the building updates were issued to oblige the various updates to the compositional drawings.
RFI Analysis
Orders
As demonstrated above, the essential RFIs are those characterized as qualified data elucidations, and it is these RFIs that furnish an evidence of the general nature of the design and documentation handle on every venture. As demonstrated in Figure 3, the fundamental sort of RFIs recorded for both tasks were informative content illuminations, with Project A showing 57.4% of all RFIs issued and Project B, 64.6%. The figure at Appendix 3 depicts the comparison of RFI sorts
As indicated in Appendix 4, the prevailing foundation for the issuance of informative content illuminations was lacking informative data in the documentation supplied. Be that as it may, in Project B, an imposing extent of these RFIs was likewise because of issues with clashing qualified information.
Although both undertakings demonstrate that the archives supplied furnished lacking detail to permit the foremen to do the function, the effects for Project B demonstrate that outline coordination issues were fundamentally more stupendous, than on Project A. The figure at Appendix 4 depicts the comparison of orders inside informative data elucidation RFIs.
These figures might appear to clash with the outcomes demonstrated in a later industry workshop of foremen, who felt that “inadequate coordination between outline teaches” was the major issue with design and documentation. Despite the fact that the degree of deficient informative data is demonstrated as being relatively more stupendous, the impact of clashing informative data on construction prepares productivity may be more critical than the rates might infer.
Degree of informative content elucidation RFIs
The point when surveying the degree of informative content elucidation sort RFIs issued on a task, two variables which seem to have a noteworthy effect are activity measure and intricacy. The more stupendous the size and intricacy of an undertaking, the more stupendous the amount of informative data elucidation sort RFIs liable not out of the ordinary. To permit examinations between diverse sizes and sorts of ventures, a system to elucidate these two variables was wanted.
In recognizing activity measure and intricacy, the result of last contract esteem and starting activity term was seen as being both modest and sufficient for the errand. Hence, in view of the above, the accompanying exhibition pointer is proposed to furnish a measure of the degree of outline and documentation process insufficiency:
PI1 = N/ ((CV x D)
Where: Nc = number of informative data illumination sort RFIs
CV = evaluated last contract quality ($100,000’s)
D = beginning venture length of time (months)
On looking at Projects A and B, the effects indicated in Table 5 were acquired. The figure at Appendix 5 depicts the comparison of tasks demonstrating the PI1 exhibition marker.
The PI1 qualities accomplished for both activities are plotted against the diagram indicated in Figure 5, which furnishes a sign of the exhibition of the design and documentation prepare in connection to the nature of the archives furnished. The figure at Appendix 5 depicts the comparison of the PI1 pointers.
The effects show that the starting capacity of the records to furnish all the informative content needed by the builder was essentially more excellent for Project B than for Project A. Because of the issue of an inordinate number of qualified data illumination RFIs in connection to the venture’s size and intricacy, the nature of the design and documentation procedure was appraised as extremely unfortunate. This rating might likewise appear to be backed by the imposing number of new structural drawings and general drawing updates issued. In spite of the fact that the effects for Project B demonstrate generally better exhibition, the outline and documentation methodology was still just acknowledged to be normal because of the high number of qualified data illumination RFIs issued.
Time of reaction to qualified information elucidation RFIs
Fundamental with the issuance of informative content illumination sort RFIs is a determination by the builder as to the time the informative content is obliged to guarantee that the venture is not deferred. The competency of the design team to react inside these time spans, guarantees that the effect of lacking documentation is not disturbed. However where reactions are furnished late, the deferrals brought about in sitting tight for the needed qualified data guarantee a lessening in the productivity of the construction methodology. By measuring the degree of these postponements, it is suggested that the accompanying exhibition marker can give a measure of the intensity of the issue.
PI2 = 1/Nc Ƹ (Ta – Tr)/Ta
Where: Nc = number of informative content elucidation sort RFIs with a reaction time specified
Tr = reaction time needed (days)
Ta = real time of reaction (days)
Condition: If Tr >= Ta then (Ta-Tr) = 0
This numerical requirement is furnished to take out the balancing impact that inside time reactions might have upon the worth of the past time exhibition pointer.
The PI2 qualities accomplished for both ventures are plotted against the diagram demonstrated in Figure 6, which gives an evidence of how well the design and documentation handle performs in connection to reacting to inadequacies in the reports furnished.
The outcomes show that the capability of the outline and documentation methodology to react to the informative content demands of the contractor was more amazing for Project A than for Project B. On the other hand, because of the general delay of the dominant part of the qualified data elucidation RFIs, none, of these undertaking appraised well, showing that the intensity of the insufficiencies with the outline and documentation procedure was acknowledged to be high on both ventures. The figure at Annexure 6 depicts the comparison of the PI2 markers.
The nature of the outline and documentation being given, plus its impact on construction transform productivity, is of major concern to numerous parties inside the Australian construction industry. Because of this concern, a technique for surveying plan and documentation inadequacy to permit venture examinations was considered vital.
This paper has proposed three exhibition pointers to highlight territories of insufficiency, by breaking down venture drawing and RFI registers. Components, for example the amount of drawing issues and corrections, venture length of time, contract esteem, number of RFIs issued and solicited and true reaction times for distinctive RFIs, were utilized to advance these exhibition pointers. Where the investigation of the drawing registers gives a general impression of design what’s more documentation inadequacy, the examination of the RFI registers gives a technique for measuring its degree and intensity. To back the proposed markers, the paper examinations information gathered from two detailed analysis construction ventures, consequently permitting correlations between them to be made. The paper furnishes a basic and straightforward numerical evaluation by which outline, and documentation lack might be surveyed and contrasted with that of different tasks.
It is noted that further research into the utilization of these exhibition markers is demanded to affirm the ampleness of the appraisals proposed and address different issues identifying with the effect that particular RFI sub-groupings may have on task exhibition.
How to improve the relation between design and construction?
In construction ventures client prerequisites, valuable angles and quality gauges are characterized throughout the design stage. On the other hand, this paramount eliminate is normally conveyed with small connection between the construction and plan crews making numerous issues throughout construction such us: fragmented plans, change requests, revamp, construction delays, and so forth.
This paper depicts an exhibition investigation of the design construction interface. This study embodied: questions with specialists, information accumulation from a few tasks and outline what’s more execution of change devices. An audit of the most regular outline deformities considered throughout the construction stage in four manufacturing activities permitted the specialists to outline a few devices to forestall the event of these imperfections. QFD was utilized to distinguish the best apparatuses and to set necessities for usage.
The proposed progressions were executed in a construction association taking part in the study with huge effects on exhibition. The execution involved new plan and survey strategies, guidelines for correspondence and also express definition of interior client necessities and plan qualities. The usage of these updates carried essential decreases on design surrenders and their relating effects in this association, some of these outcomes are examined in this paper.
It is in the design stage where the necessities of the customer are recognized and the helpful perspectives and the benchmarks of value are outlined through methodology, drawings and specialized details. As of now, the work inside the design stage is part into numerous interim arrangements, and it is conveyed to distinctive pros for its execution.
In manufacturing activities, first the manager chooses the modellers who arrange the design outlines and particulars, and then the structural outline and other distinguishing offering plans are improved. For the most part, the construction stage is the avocation of a contractor chose by the manager.
The issues of this work succession have been talked about for numerous years. The essential issues that have been caught are the small communication around outline and construction furthermore around the authorities; this scenario propels the accompanying stages to finalize inadequate plans. The outcomes are suboptimal results, absence of constructability furthermore an incredible number of progress requests (outline and construction revamp).
The effects of progressions are not grasped and seldom distinguished, as far as expenses furthermore plan. The work hours put by the architects in the progressions have been assessed in a 40 to 50% of the aggregate of a task. In Latin American nations, it is assessed that between 20 to 25% of the aggregate construction period is lost as a result of outline lacks. Then again, for some Chilean construction associations, the key wellspring of clash in activities is the nonstop updates in the plans did by the managers, influencing quality and gainfulness and affecting the calendar and the expense of the ventures.
Considering the past argumentation, it is clear that the outline construction interface offers an incredible potential for construction. To realize this change it is indispensable to recognize those exercises that include “quality” and those that transform “waste” throughout the outline also construction forms. This paper depicts an exhibition investigation of the design construction interface that included: talks with masters, information accumulation from a few ventures and outline and usage of change instruments.
A survey of the most successive outline abandons considered throughout the construction stage in four constructing ventures permitted the specialists to outline numerous devices to avert the event of these imperfections. QFD was utilized to distinguish the best devices and to set necessities for execution. The proposed progressions were achieved in a construction association taking part in the study with critical effects on exhibition. The execution included new outline and audit techniques, gauges for correspondence and express meaning of inner client necessities and outline characteristics. The execution of these progressions carried significant decreases on outline deformities and their comparing effects in this association, some of these outcomes are talked over in this paper.
Outline as a flow
Its term, cost and worth can portray the stream methods. The worth is implied the fulfilment of the prerequisites of the customer. Just the exercises that might be changed over to structure assets for the customer are the ones that add worth to the item. Huovila inferred the model indicated in Figure 1 for the design process.

- The outline exercises that don’t give to the change are: assessment, moving, conversion and holding up of the informative content.
- The main transformation action is the design itself. Update because of blunders, oversights, doubt, and so on is additionally squandered. In the event that we look at the design process with this point of view we understand that just a minor portion of the sum design process duration is utilized within transformation exercises. Consequently, the decrease of these misfortunes gives an imposing change potential. The worth creating methodology is helped out through the satisfaction of the customer prerequisites and needs. In any case, throughout this methodology there are some occasions
- Part of the prerequisites is lost at the starting.
- Part of the prerequisites is lost throughout the outline process for instance, the outline aim of an architect is not conveyed to the accompanying stages, and what’s more it could be ruined by choices in them).
- There is next to no change and streamlining of the design results (for illustration, the movements or the chances of the accompanying stages are not taken into record).
- Quality slips of the outline stay in the last item.
The relating movements to keep away from these worth misfortunes are:
- The thorough examination of the prerequisites and needs at the starting, with a close participation of the customer;
- The systematic organization of the necessities with the requisition of Quality Function Deployment (Q.F.D.).
- Improvement and the enhancement of the outline process through quick cycles around all the executors that issue design and construction informative data; subsequently, all the stages of the life cycle of the venture ought to be acknowledged concurrently from the calculated stage.
All these activities are essential to take out those exercises that don’t include esteem then after that come back from the construction stage to the design stage.
Issues that affect the Design-Construction Interface
For the most part, it is throughout the execution stage of the undertakings where plan deformities are distinguished; the issues connected with the plans are chiefly:
- Inadequate Design Quality: Design drawings are for the most part fragmented, and they are not express, needing an incredible measure of particulars. Determinations are challenging to handle and off and on again are disregarded. Extremely regularly outline archives have inconsistencies, blunders and exclusions, or basically absence of clarity in the presentation. This infers that those that may as well complete the work don’t have the fundamental informative data or have the wrong informative data to do the occupation.
- Lack of Design Standards: There is an absence of guidelines in the plans, and need of suitability for the existing innovation. In numerous undertakings of comparable attributes, or of the same sort, the plans utilized are totally distinctive with the subsequent misfortune of proficiency in the construction stage.
- Lack of Constructability: A vital extent of the issues located throughout construction is because of absence of constructability of the outlines.
The parts not described in the outlines come to be issues that must be comprehended by the builder on location. More often than not the issues are caught simply before beginning construction of the particular undertaking and here and there even after the undertaking has been finished. The effects are misfortunes of diverse sort and greatness.
Exploratory Study: Identification of design problems and results
As first stage for the improvement of the change procedure it was indispensible to gather qualified information to acquire confirm about the sort and recurrence of outline absconds that influence the construction stage. This qualified information was gathered from four ventures of a construction association; the construction locales were gone by some times in every venture in request to achieve reviews of the diverse control reports. Every issue that began face to face times between designers or managers and the contractor was enrolled. 457 records with sum 673 perceptions were gathered with point-by-point qualified information to investigate the effect of the issue located.
The accumulation of qualified information was completed by concentrating on diverse reports holding informative data from the starting of the venture between 10 and 68 weeks—contingent upon the advancement of the activity. In some cases, it was conceivable to effortlessly remake a “record of outline absconds” for some weeks, at the same time in different cases just records of a couple of weeks were acquired.
Meetings and overviews with outline and construction experts were likewise conveyed out so as to distinguish the most widely recognized issues influencing the design construction interface. Every meeting was part into four parts so as to acquire qualified information for distinctive purposes:
- To figure out the conceivable explanations for outline abandons;
- To know the effect of design deserts on construction meets expectations;
- To figure out the qualified data abandons in the plans; and
- To recognize routes of forestalling or taking care of these issues.
As an after effect of the meetings and reviews, it was watched that the most vital issues put forth in the outlines were: abandons of distinctive masters and the absence of coordination around fortes, updates presented by the possessor and the architects, inconsistencies around drawings and details, creators with small amount of construction improving the Design-Construction Interface learning and non-specialized particulars. These issues, produce an arrangement of effects in the construction works, for example: misfortune of work, sit still times, revamp, aberrant utilization of hardware and gear, delays, and so on.
The most imperative design imperfections distinguished were: absence of qualified information and not right qualified data. The most incessant issue was the consistent change and adjustments of the outline. The dissection of the informative content gathered demonstrated that the present outline procedure is deficient and disorderly and it doesn’t permit the construction experts a finish presentation to the finished design and it avoids the cooperation around the diverse distinguishing offerings that mediate simultaneously.
Table: Pareto’s bifurcation of design defects.
The under mentioned are few of the suggestions recommended by the interviewees to evade these inadequacies:
- To join construction work force in the design stage; this might serve to avert issues before they touch base to the site.
- To receive models for outline qualified data; this might dodge misinterpretations what’s more misfortune of time in comprehension outline qualified data.
- To present nonstop change in the outline process with a specific end goal to dodge redundancy of outline deserts.
An additional fascinating outcome acquired was the reaction time to builder asks because of the deserts in the outlines. This was characterized as the distinction between reaction dates and discovery date of the issues, and then these distinctions were aggregated by extents (weeks) as demonstrated in Figure 3. The ventures that had formal frameworks to understand the outline problems for example “outline analyses logs” or “outline facilitators” indicated decreased reaction time to tackle these issues and lessened relative effect on the task. The figure at Appendix 7 depicts the response time to design problems.
A procedure to present persistent change of the outline methodology was composed to give reaction to the issues distinguished. This technique joins the components inferred by the interviewees and a portion of the proposals given, which were talked over in the recent past. This approach is quickly depicted in the emulating segment.
Procedure to improve design quality
The proposed procedure was intended to wipe out the explanations for the deformities distinguished in the recognizable proof stage of the exploration. These issues could be tackled acting through four diverse activities:
- Supervision: of the outline methodology. A construction association must take an interest in the outline process, to stay away from the issues identified with absence of construction learning of the originators, furnishing its experience in design results.
- Coordination: of the diverse distinguishing offerings through a legitimacy grouping of qualified information exchange, evading erroneous suppositions, and giving a necessity level for updates keeping in mind the end goal to evade absence of coordination and to enhance the outline similarity.
- Institutionalization: of outline informative data, to stay away from the exclusions, slips and enduring progressions, that influences the ordinary improvement of the activities.
- Control: of the stream of informative data, verifying that the necessities of past methodologies are satisfied, so as to maintain a strategic distance from that plan abandons land to the construction site.
Four types of activities are proposed to present enduring change dependent upon the above elements:
Improve Coordination through
- An arranging plan of the design grouping for assembling undertakings, keeping in mind the end goal to stabilize and control the informative data stream, to make necessities around the distinguishing offerings to keep away from the absence of qualified information or the utilization of presumptions when informative data is not accessible. This plan additionally serves to facilitate the introduction, area and lay out of distinctive frameworks, supplies, and other things. The foundation of this arrangement for the informative content exchange through all the design methodology permits the clients to arrange the necessities of info information for every one of the distinguishing offerings and the priority request of these necessities.
- An arrangement to control and assess updates presented throughout the execution stage, figuring out their effects on the activity.
Introduce Standardization through
- The advancement of “assignment records”, keeping in mind the end goal to create for every one of the architects, the information for his own particular design process.
- The advancement of “work details”, to institutionalize the presentation of the informative content and to create necessities for the diverse architects.
- Reduce the effect of the absence of construction information of the originators by presenting construction criteria, in the” assignment record” and “work details “.
- Improve Control by advancing “check records” to control the parameters created in the “assignment record” and the prerequisites encroached in the “work details”.
This strategy is connected to every task and permits the aggregation of information to furnish an adequate reaction for persistent change of the philosophy. These records, arrangements also details we will be called “Design Control Documents”.
Qualities of the Design Control Documents
Errand Lists: The originator utilization this record to detail all qualified information identified with his distinguishing offering that originates from outside operators and different creators, before starting his function. This archive tries to evade unnecessary suppositions and absence of beginning qualified information about the task. The errand record permits (in advance) the accessibility of all the data information in order to perform the design process.
Work Specifications: They try to institutionalize informative data presenting presentation forms and assemblies for Id of components and archives, in request to dodge exclusions and misinterpretations of informative content. The work details create insignificant informative content necessities for drawings and determinations, specialized qualities of materials and helpful angles.
Outline Planning Scheme: It builds a consistent arrangement for qualified information exchange around the diverse distinguishing offerings and necessities for design updates. This outline planning scheme is the system to advance the “assignment records” to cause every pro to acquire all the fundamental informative data to begin his/her own particular outline process.
Check Lists: The checklists are utilized to guarantee that the planners fulfil the “function determinations” and to control the parameters outlined for this reason.
Change Control Procedures. These methodologies are intended to assess in propel the effects of progressions on the activity. They incorporate examination of these effects from diverse points of view inside an undertaking.
Selecting technical responses using the “House of Quality”
The procedure of the “House of Quality” was connected to select the specialized reactions that might be the best to escape the imperfections in the outlines distinguished in the exploratory study. The “House of Quality” is the first lattice utilized by the Quality Function Organization (Q.F.D.) system (Appendix 8). This network showcases the necessities and needs of the customers and the specialized answers that fulfil these prerequisites and needs are placed in the upper part of the grid. The specialized answers that fulfil these prerequisites are formed by the “design control reports”, that is: “assignments records”, “work determinations”, ” Change Control Procedures “and” Design Planning Scheme “.
Thus, the inner customer of the originator is the Construction Company and its needs then again prerequisites are acted for by the lessening of outline issues. As a result of this, the enrolled deformities were characterized consistent with the strength and the issue sort.
The relationship between the necessities of the customer and the specialized responses was caught in the framework. Thus, the relationship between an outline deformity and an “outline control report” was specified utilizing a relationship scale. When the relationships were created, the weight of every response was computed. This count was an interrelationship between the discovery recurrence of the issue and the level of association with the specialized reaction. When the qualities for every specialized reaction were known, segments were included, and thereafter the qualified data was standardized. The consequence of this estimation is exhibited in Appendix 8.
The Pareto’s grouping of the reaction to outline issues is displayed in Figure 5.
Consistent with the effects acquired from the “House of Quality”, the specialized reaction that conceivably would avert more outline deformities is the “work determination” identified with the components recognizable proof (18.27%) and the drawing distinguishing proof (17.25%), emulated by a project of archives conveyance (11.75%). These three reactions location just about 50% of the imperfections found.
The figure at Appendix 8 depicts the results of the House of Quality and the figure at Appendix 9 depicts Pareto’s classification of the technical responses.
The “design cycle” is likewise imperative (8.1%), this reaction tries to avert the absence of coordination of the plans after the execution starts. Then again, the “Change Control Procedures” (7.44%) are intended to diminish the effects identified with outlines abandons discovered on location, allocating a necessity and a grouping, to confirm how the change will influence different creators and the venture itself.
Suggestions for Design Quality Assurance
The proposed technique to enhance the outline for construction ventures incorporates the advancement of arrangements and reports to guarantee that an arrangement of prerequisites are met, in request to evade outline deformities. The central attributes are displayed beneath; they were demarcated from the investigation of the qualified data acquired throughout the demonstrative stage of the research and the suggestions made by experts and additionally by the creators.
Outline Planning Scheme. This arrangement requires two distinctive cycles
Qualified data Cycle
Soon after the starting the first phase of the “Design Planning Plan”, it is essential to achieve a standout amongst the most critical and basic regions that a task requires: to recognize the prerequisites of the customer. The change approach accepts that the prerequisites of the manager are conveyed to the draftsman in a compressed structure through the “assignment records” and the builder’s prerequisites are built in the “work determinations”. An Engineer throughout the improvement of the outline exhorts the engineer with a nearby coordinated effort between them. When the design is expert satisfying the “work determinations”, it is conveyed to the next fortes, which get the “undertaking records” that hold the vital informative data to improve their outlines.
When finished, a forte design is subjected to a “similitude control” with the higher necessity fortes, to catch potential inconsistencies around the drawings. This procedure is as of now called “venture coordination”, however the proposed plan is distinctive in light of the fact that it secures a grouping that must be achieved after the execution of the venture. The issues recognized throughout the “comparability control” are imparted to all the executors to create the fundamental updates to complete the outline. These progressions are produced throughout the “second cycle” of the “Outline Planning Scheme” that is depicted in the accompanying section.
Updates Cycle
When the “closeness control” is finished it is indispensible to achieve the essential updates in all the claims to fame. As the alterations that are achieved in one distinguishing offering can influence different claims to fame, the grouping of progressions is chose recognizing the simplicity to fulfil the progressions. Every time a claim to fame produces a change, this is imparted to the next creators. At last, the progressions ought to be conveyed to structural planning to verify the satisfaction of the progressions and the coordination of all the outline reports.
Having as a main priority these plans for the stream of qualified information and a necessity request for the updates, it is vital to know the aspects of the Design Control Documents.
Work Specifications
These are specialized archives where prerequisites for outline reports are built (arrangements, components Id, informative content, drawings aspects, and so on.).
Undertaking Lists
These records may as well hold the qualified data that the creator necessities from the past sub process (other fashioner or possessor). They might as well make references to certain criteria for strength plans, for example: area of the pipelines, sort of materials, area and amount of components and prerequisites of different claims to fame, etc.
Checklists
These records must be utilized to verify that the “work determinations” are satisfied and that the parameters described in the design are in concurrence with their aspects. The structure of the checklists is a record of inquiries that are replied absolutely or adversely.
Change Control Procedures
The target of these methods is to control any change that is presented in the outline throughout the execution phase of the venture. To keep away from the absence of control it is vital to describe the obligations of the architect, builder and manager. The Designers are answerable for conveying and recognizing the adjustments acquainted with the outlines. The builder is answerable for distinguishing and imparting all the outline issues that influence the constructability, operation and upkeep of the tasks. He might as well likewise manage the constructability of the progressions, assess the immediate and roundabout investment effect on the venture and figure out the varieties in the task calendar. The manager is answerable for knowing furthermore comprehension the effects of the progressions and he is the special case who can sanction the updates.
Organizational Structure
To present nonstop change in the outline prepare, considering the makeshift character of the activity conglomerations, it is vital to have an organizational structure that oversees and controls the improvement of the design methodology. This is a Design Control Unit that hinges on upon association administration and that takes an interest in the advancement of every last one of activities, gets informative content and manages updates made in every one of the undertakings in execution.
The Design Control Unit (DCU) has as goal to anticipate that outline slip-ups land to the field, to do this it may as well have some control of the design methodology to have the capacity to gather enough informative content so as to enhance work details. In the meantime, the assessment of the architects through the checklists permits the era quality records for every design office to assess their exhibition for future ventures.
For some field experts one of the primary issues put forth in the plans are the blunders of the architects themselves and the absence of coordination around distinguishing offerings. Other issues are brought about by late updates presented by the possessor and the creators, the conflict between drawings and particulars, the absence of construction information of the architects and particulars with small specialized substance. These imperfections produce an arrangement of effects in construction activities, for example: postpones, labour misfortunes and wrong utilization of supplies.
The vital issue discovered in the outlines was the absence of qualified information. The planners did not convey enough qualified information on time to the construction field and to other members in the outline procedure. This scenario demonstrated that the planners didn’t anticipate the prerequisites of qualified data of their inward customers when arranging their own particular function.
These discoveries exhibit that the present outline procedure is inadequate and disordered, since it doesn’t permit the persons accountable for the venture execution the satisfactory learning of the outline and it forestalls the face to face time around the distinctive distinguishing offerings included in the venture.
The qualified information gathered from the site demonstrated that each time there was a change of organize in the task there was a respectable build of design absconds, subsequent lapses and oversights. This scenario shows that there is no reckoning of outline issues when starting execution. Then again, the vast majority of the issues discovered were because of a wrong interpretation of the necessities of the possessor by the architects or because of a late comprehension of these necessities, generating numerous updates throughout construction. The ventures that had formal frameworks to take care of design issues, for example “plan analyses logs” alternately “plan organizers” indicated diminished reaction time to take care of these issues and decreased relative effect on the activity.
The requisition of the “House of Quality” to assess specialized reactions indicated that the requisition of two specialized reactions: “work particulars” and “Drawing Delivery Line-up” might be adequate to keep away from very nearly 50% of the deformities discovered. The normal variable of these specialized reactions was the determination of the informative content that must be conveyed by the creators, recognizing the records included, and when this informative content ought to be conveyed to the activity.
The execution of the proposed results has profits for creators and construction associations giving to escape revise and various sorts of waste in both the creator office and the construction site. One construction association included in this research has brought about these ideas to formalize its plan construction collaboration with huge effect on the viability and effectiveness of the procedures. They have fundamentally lessened design deformities and updates, these changes have additionally had huge effects on venture benefit.
Recommendations
All titleholders, planners and other design experts are urged to uniformly acknowledge avocation regarding design arrangements and particulars applying to construction ventures. This design avocation incorporates drafting finish determinations for consideration, drafting finish particular for incorporation in task offering archives, launching or favouring all plan identified increases, cancellations and updates to activity details and tolerating extreme avocation regarding the wellbeing and utility of all task outline components. For design-construct ventures, the authority regarding the arrangements and determinations must be enlarged to the outline raise substance to guarantee venture triumph.
Assignment of expert administrations which constitute the practise of building design or designing, might as well usually be restricted to manufactured items, for example blind, dividers and lifts, then after that just subject to demands incorporating the below mentioned:
- The title-holder and modeller must define all performance and design criteria that these expert administrations must fulfil.
- All such administrations must be particularly needed in the agreement archives and not be in violation of any appropriate law.
- The modeller, or other possessor designated outline experts must favour all design identified work performed by others and coordinate the general outline combination, wellbeing of general society, agreeability with codes and other legitimate or holder necessities as gotten. As for other than the manufactured items itself, the modeller or the other holder designated design expert might acknowledge and hold sole authority regarding general design.
- Contractors and sub-builders must not be considered answerable for the ampleness of the exhibition or plan criteria showed by the agreement reports.
- The utilization of wrong or misty details normally builds cost to the manager. Higher offer costs, successive change requests, and lost time for the most part come about when plan reports need clarity or neglect to sufficiently coordinate the work of distinctive exchanges. Endeavours to transfer plan avocation to the builder encroach an unquantifiable hazard on the builder that may expand the possessor’s cost without shielding the manager against risk to others.
- Specification division for every exchange must be clear and complete. Expressions, for example “planned effects” “counting however not constrained to” and “sensible inferable” make offering questionable matters, come about every now and again in cases and reduce the possessor’s risks that the undertaking will meet its desires.
- Review of design drawing and records by the builder ought to be with the end goal of expediting construction and not infringe on the builder an obligation to reveal lapses, exclusions or inconsistencies. It ought to be distinguished by all worried that the contractor’s audit is made in its ability as a builder and not as an outline expert.
- Review and regard of contractor submittals by the architect is a different range that can make trouble for the activity crew. A few architects will support a submittal with an endorsement stamp that holds dialect vindicating the fashioner of authority of any error in the audit procedure. Throughout contract arrangements and introductory gatherings between the holder, creator, and construction crew, this issue ought to be evidently examined.
Long experience shows that a clear division of authority between the planner, as architect and the builder, as manufacturer, offers a successful path to attain quick, safe, and conservative construction results.
Appendix 1

Appendix 2

Appendix 3

Appendix 4

Appendix 5

Appendix 6

Appendix 7

Appendix 8

Appendix 9
